摘 要:创造性是专利申请能否获得专利权的最重要的实质条件之一。而创造性判断中,对比文件则是最基础性的证据,因此,其作为创造性判断的起点,应当具备适格性。专利审查指南中指出采用“三步法”来判断发明的创造性,其第一步则是确定最接近的现有技术,也即选取适格的对比文件。只有当对比文件具备适格性时,才能够保证创造性评价中的客观性以及公正性,降低人为主观不确定因素,进而有效平衡申请人与公众之间的利益。
关键词:最接近的现有技术 对比文件 适格性 创造性 发明构思
[1] 引言
发明专利实质审查中,审查员涉及最多的条款即为专利法第 22 条第 3 款规定的创造性,创造性是判断发明专利能否获得专利权的最重要的实质条件之一,其也是在专利审查实务中争议最大,最难以准确把握的条款之一。专利审查指南规定,创造性判断时采用 “三步法”,首先第一步是确定最接近的现有技术。然而,专利审查指南中仅仅以举例的方式说明在确定最接近的现有技术时应当考虑的因素,如技术领域、技术问题、技术效果,以及公开技术特征的多少,但其并未对相关要素进行解释,更没有对具备相关要素的现有技术给出选择的衡量标准。而判断创造性的过程中,审查员只有在选择一篇适格的对比文件的基础上并将其作为起点时,才能够确保客观公正,降低人为主观性,而当选择不适格的对比文件时,必然会导致后见之明。本文首先分析了中国专利局、美国专利局、欧洲专利局三局中有关最接近的现有技术的相关规定,然后从具体案例出发,阐明适格的对比文件是准确把握创造性的发力点。
[2] 中美欧三局关于最接近的现有技术的解释
• 中国专利局
专利审查指南中规定 ^[1]^,判断要求保护的发明相对于现有技术是否显而易见,通常采用“三步法”,其中第一步即为确定最接近的现有技术。其中进一步阐释了选择最接近的现有技术应当考虑的因素,即最接近的现有技术,是指现有技术中与要求保护的发明最密切相关的一个技术方案,它是判断发明是否具有突出的实质性特点的基础;最接近的现有技术,例如可以是,与要求保护的发明技术领域相同,所要解决的技术问题、技术效果或者用途最接近和 / 或公开了发明技术特征最多的现有技术,或者虽然与要求保护的发明技术领域不同,但能够实现发明的功能,并且公开发明的技术特征最多的现有技术。应当注意的是,在确定最接近的现有技术时,应当先考虑技术领域相同或相近的现有技术。可见,审查指南中关于最接近的现有技术选取时应当考虑的因素包括技术领域、技术问题、技术效果以及技术特征,并且首先应当考虑技术领域。
进一步,审查操作规程中 ^[2]^ 指出,在确定最接近的现有技术时,通常按照如下顺序考虑并选择最接近的现有技术:①优先考虑技术领域相同或相近的现有技术;技术领域相同或相近时,优先考虑所要解决的技术问题、技术效果或用途最接近的现有技术,其次考虑公开了发明的技术特征最多的现有技术。②无相同或相近技术领域的现有技术时,可以考虑选择与要求保护的发明技术领域不同,但能够实现发明的功能,并且公开发明技术特征最多的现有技术作为最接近的现有技术。可见,审查操作规程中对确定最接近现有技术的各个因素的顺序进行了考量。
• 美国专利局 ^[3]^
美国专利局在其专利审查程序手册中提及,要求保护的发明的类似技术,其可能存在于申请人尝试的领域中,即本发明所属的技术领域;其与申请人所关注的特定问题具有合理的相关性,即技术领域与要解决的问题合理相关;其也可能存在于申请发明领域之外的其他技术领域。需要注意的是,在判断不同领域的文献是否可以用于作为类似技术时,发明要解决的问题是必须考虑的。而上述美国专利局所提及的类似技术,也即我们通常所说的最接近的现有技术。
进一步,美国提出了一个指导思想,即现有技术可以来自相同或者不同的技术领域,解决相同或者不同的技术问题,只要就待审查的发明所涉及的主题而言,从该发明整体考虑,该现有技术能符合逻辑地引起发明人的注意即可。
由此可见,美国关于对比文件的适格性具有严格的要求,如果以一份对比文件作为最接近的现有技术评价一件发明的创造性,其要么是与本发明属于相同的技术领域,要么必须说明在技术领域不同的情况下其与本发明具有合理的关联性,否则就是不适格的对比文件,不能够用来评价待审发明的创造性,其作为发明的起点并不适格。
• 欧洲专利局 ^[3]^
欧洲专利局审查指南规定,其创造性的判断采用 “问题 – 解决法”,而第 1 个步骤就是确定最接近的现有技术。欧洲专利局对最接近的现有技术作了定义:最接近的现有技术是指单独一篇参考文献中公开的特征的组合,其是通过显而易见的改进从而得到本发明的最佳起点。而在选择最接近的现有技术时,欧洲专利局指出:首先考虑的是与本发明具有相同的目的或效果,或者至少与请求保护的发明属于相同或相近的技术领域。实际审查中,选择的最接近的现有技术通常应当具备相似的用途,而且仅需极少的结构或功能上的改进就可以得到请求保护的发明。
进一步,欧洲专利局案例法强调,确定最接近的现有技术时,首先,应当考虑的因素是相同的目的或效果。否则,它不会使本领域技术人员显而易见地得到本发明。仅因为具有相似产品组成,不能认为该文件具备作为最接近现有技术的资格,它必须描述了适用于本发明希望的用途,优选的,最接近的现有技术将本发明的目的也描述为值得实现的目标。其次,应
当考虑的因素是技术问题的相似性。最接近的现有技术应当涉及相同或相似的技术问题,或者至少与本发明涉及相同或者相近的技术领域。如果没有提及本发明的技术问题,甚至没有提及从本专利说明书推导出来的技术问题,这样的文件通常不具有作为最接近的现有技术的资格,因为从该文件出发,任何达到本发明主题的尝试都是失败的。
• 中美欧三局关于最接近的现有技术的相似性
通过上述中国专利局、美国专利局、欧洲专利局三局对最接近的现有技术的相关解释可见,在选择最接近的现有技术时,美国专利局和欧洲专利局做法很相似,即如果对比文件与待审发明属于相同或者相近的技术领域,则不必拘泥于具体的技术问题;如果对比文件与待审发明技术领域相差较大时,则需要考虑技术问题、技术效果是否具有合理的关联性。而同样的,我国在确定最接近的现有时,其与美国专利局、欧洲专利局并未有实质区别,即:与本发明技术领域相同,所要解决的技术问题、技术效果或者用途最接近和 /或公开了发明的技术特征最多;与本发明技术领域不同,但能够实现发明的功能,并且公开的技术特征最多。可见,选择适格的对比文件是各个国家的一致追求。然而,我国在确定最接近的现有技术时,对于技术领域相同的情况,还限定了技术问题、技术效果、公开特征最多等要求,其虽然有利于审查员操作,但并不利于审查员从本领域内选择真正合适的对比文件。在此可参考如美国专利局、欧洲专利局所规定,选择适格的对比文件,使其作为待审发明的最有希望的起点。
下面,笔者就具体案例对何种文献为适格的对比文件进行阐述。
[3] 案例分析
• 案情介绍
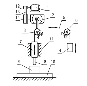
本发明涉及一种多头高效电火花机床,其相对于现有技术的单个电极头,其能够提高加工效率,具体结构参见图 1。权利要求 1 记载如下:
一种多头高效电火花机床,其特征在于,包括:电火花机底座 (1),在所述的电火花机底座上固定设置了立柱 (2),在立柱中间部位设置了横梁 (4),在立柱和横梁之间设置了十字铰接旋转轴(6),在横梁上固定连接设置了电火花机头 (14),电火花机头下端通过电极夹具 (9) 与电极 (5) 连接,在电极内设置有出液孔,在电火花机底座上设置了加工工件,为了调整工件和电火花机电极之间的距离,在所述的横梁和电火花机底座之间设置了液压油缸 (3),液压油缸设置在底座上,同时,为了便于横梁的旋转,在所述的立柱上端设置了旋转手柄 (7),在立柱上还设置了拉绳 (11),拉绳一端连接配重块 (10),另一端固定在横梁上。
图 1 多头高效电火花机床
审查员在一通中采用对比文件 1( 下文称为 D1)+对比文件 2( 下文称为 D2)+ 公知常识评述了本发明的创造性。其中 D1、D2 的技术内容如下:
D1 涉及一种电火花成型机床主轴行程驱动机构,现有技术中主轴行程采用螺杆传动,其存在摩擦力大,增加了电机的负载和损耗,且由于螺杆传动与线性导轨对方向要求精度高,导致装配困难。因此,D1 提出了一种柔性开环链传动驱动机构,从而克服上述不足。参见图 2,一种电火花成型机床主轴行程驱动机构,主轴 7 与机头 11 经垂直滚珠线性导轨连接,使主轴 7 可以在机头 11 中上下滑动,主轴 7 上方的机头 11上设有驱动机构,所述驱动机构由开环链条链轮传动机构、蜗杆减速器 2、同步带传动机构和电机 1 组成;电机 1 经同步齿轮 12、同步带 13、同步齿轮 14 与蜗杆减速器2 连接,蜗杆减速器2 的输出轴与链轮3 连接,链轮 3 与开环链条 5 啮合,开环链条 5 的一端与主轴7 连接,链轮 3 的位置使链条 5 自然垂直在主轴 7 正上方,另一端经导向链轮 6 悬置,而且悬置端设有配重块 4。工作时,主轴 7 的下端装有电极 8,工件 9 固定在工作台 10 上,当电机 1 正向旋转时,链轮 3 带动开环链条 5 向一个方向运动,链条 5 的运动将主轴 7连同电极 8 一起向上拉动,在滚珠线性导轨的引导下主轴 7 沿导轨向上滑动,使电极 8 离开工件 9 ;当电机 1 反向旋转时,电极 8 接近加工工件 9 ;由于链条 5是一种柔性结构,当电极 8 接触工件后可以弯曲,因此在校正和加工过程中不会产生撞模现象。
![]() |
图 2 柔性开环链传动驱动机构
D2 涉及一种多电源放电同步加工放电机,其能够使用单一主机同时对多个加工元件加工。其结构如图 3 所示,11’为传动主轴,15’为工作台,131’- 134’为电极,141’-144’为工件。
![]() |
图 3 多头电火花机床
- 2 基于对比文件适格性分析
对比文件是用来评价创造性的基础性证据,如前所述,其是否具备适格性直接影响着创造性判断的客观公正性。同时,适格的对比文件作为通向待审发明最有希望的起点,其目的或者效果以及希望的用途也应当与待审查发明一致,并且只需对该对比文件的结构和功能进行少量修改即可得到本发明。具体到本申请:本申请的目的在于提供一种多头电火花机床,权利要求 1 对该机床的机构进行了具体限定,即该机床具备由立柱、横梁、配重块,横梁上设置有多个电火花机头,且横梁可在立柱上上下移动,配重块用于平衡重量。而D1 一种电火花成型机床主轴行程驱动机构,虽然其技术领域与本发明相同,然而,当本领域技术人员面对该对比文件时,是否能够将其作为起点,然后在其基础上朝着本发明的发明改进呢?答案显然是否定的。D1 发明的目的在于克服传统以螺杆驱动的刚性驱动所存在的不足,从而采用以开环链条传动为主的柔性驱动方式。本领域技术人员面对 D1 时,首先,其并不会将已经设置的开环链条传动改设为如横梁 +立柱形式 ( 其属于刚性驱动 ) 的驱动方式,因为这与其发明目的相悖;其次,从 D1 的机床机构来看,其完全不同于本发明的机床结构,两者唯一相同之处仅在于其电极可在驱动装置的驱动下上下移动;如果本领域技术人员要从 D1 朝本发明改进,其不仅需要违背其提及的发明目的,更要将其机床的结构作出全面修改,而这种修改很难说不需要付出创造性的劳动。本领域技术人员在面对 D1 时,并不能做出接近以致于最终能够到达本发明的技术改进,显然,其作为最接近的现有技术并不适格。如果审查员坚持认为 D1 也公开了一种电火花机床,且其电极可以上下移动;而对于立柱、横梁、配重块等部件仅仅是本领域技术人员的一种常规设置,这难免不认为是事后诸葛亮行为;因为虽然在机床领域中,立柱、横梁、配重块都属于很常见的部件,然而在创造性的判断时,我们必须有一个起点,需要站在这个起点上进行改进,对于起点的选择,不仅确定了其主题,还限制了进一步改进的框架,在进一步改进中将一个有意选择的类型改变为另一个已知却没有选择的类型,通常会被认为是后见之明;而在 D1 的基础上,本领域技术人员并没有动机设置立柱、横梁用于电极的驱动,其无论是技术问题还是技术效果,抑或是技术特征均不同于本发明,本领域技术人员不会将其作为通向本发明的最有希望的起点。
那么,D2 能够作为最接近的现有技术吗? D2 公开了多头电极,并且也具备立柱、横梁。从技术特征来看,D2 已经公开了本发明的发明点,即设置多头电极,并且也设置有诸如本发明中的立柱、横梁;可见, D2 不仅与本发明所要解决的技术问题相同,并且公开了与本申请类似的结构,其似乎可以作为本发明最接近的现有技术。然而,对比文件的适格性,不仅体现在技术领域、技术问题上,更进一步其作为得出待审发明的最有希望的起点,本领域技术人员只需要对其结构和功能进行少量的修改。而具体到 D2,虽然其也是一种多头电火花机床,然而由该机床的结构可知,其立柱、横梁的形式并不同于本申请,D2 中采用滑轨的形式驱动横梁,且横梁设置在滑枕上,滑枕设置在立柱上的滑轨中,其具备结构稳定等特点,本领域技术人员面对该对比文件时,并不想到设置配重块等部件,也不会想到在其基础上将横梁与立柱通过十字铰接旋转轴连接,即使说配重块、十字铰接旋转轴都属于常规部件,然而 D2 中并不需要这些部件,如果在 D2 的基础上,将其朝本发明改进,其除了能够保留多头电极之外,本领域技术人员需要将整个结构重新设计才能够得到本发明所述的机床结构,其并不符合作为适格的对比文件的要求,即除了具备相似用途之外,通常本领域技术人员仅需极少的结构或功能上的改进就可以得到请求保护的发明。可见,D2 也并非适格的对比文件。
而对于本发明,何种文件才属于适格的对比文件呢?笔者对此进行了补充检索,在考虑技术主题的基础上,结合其结构特征,提取关键词 : 机床 + 电火花
- 立柱 + 升降,进而检索到对比文件 3( 下文称为 D3), D3 公开了一种电火花机床,其包括:工作台 1( 相当于本申请中的火花机底座 ),所述工作台 1 上固定设置了立柱 5,所述立柱 5 上套接有摇臂 6( 相当于本申请中的横梁 ),所述摇臂 6 上滑动设置有主轴箱 11,所述主轴箱 11 通过主轴丝杠与圆轴连接,所述圆轴的下端通过电极夹头 15 安装有电极 16,所述摇臂可在立柱上升降。具体结构参见图 4。
图 4 电火花机床
D3 公开了一种单头电火花机床,首先,D3 与本发明属于相同的技术领域;其次,其公开了一种具备立柱 + 横梁形式的电火花机床,与本申请具有相似的用途。在其基础上,本领域技术人员要想得到多头电火花机床,只需在 D3 的横梁上设置多个电火花机头,也即只需对其结构进行少量的修改即可得到待审发明。并且进一步分析,这也正符合申请人的创造过程,申请人提及现有技术采用单个电极加工,如 D3 所述形式,存在效率低下的问题,因此,其提出了采用多头电火花加工;而当本领域技术人员面对 D3 时,为了提高加工效率,其现有技术的启示下 ( 如 D2 设置了多个电极实现多工件的加工 ),很容易想到对 D3 进行改进,在其横梁上设置多个电火花机头,从而提高加工效率。可见,D3 即可作为通向本发明最有希望的起点,并且本领域技术人员面对 D3 时,也仅需少量改动即可得出本发明。因此,其作为最接近的现有技术是适格的。
[4] 结论
最接近的现有技术是创造性判断的第一步,其对发明的走向起着至关重要的作用,如果选取不适格的对比文件,必然会助长创造性判断时所产生的后见之明。适格的对比文件,其应当是本领域技术人员通向本发明最有希望的起点,因为当该起点选择之后,其不仅确定了发明的主题,更重要的是进一步限定了改进的框架,如果在进一步改进中将一个有意选择的类型改变为另一个已知的却没有选择的类型,通常会被视为事后诸葛亮。也即适格的对比文件,其不仅应当与本发明具备相似的用途,还应当在本领域技术人员面对它时只需对其结构和功能进行少量的修改即可得到本发明。因此,在实务操作中,选择适格的对比文件时,首先应当选择发明构思一致或接近的现有技术,并且在进行发明构思的比较时,重点应当考虑技术领域、技术问题、技术效果三个方面的因素以及它们之间的联系;并且对于装置发明,适格的对比文件应当是尽可能少的对其结构进行改动。
对比文件作为创造性判断的基础性证据,只有保证了对比文件的适格性,才能够确保创造性判断的客观公正,有效平衡申请人与公众双方的利益。
参考文献:
0 国家知识产权局 . 中华人民共和国专利法 [M]. 知识产权出版社,2010.3.
1 国家知识产权局 . 专利审查指南 [M]. 知识产权出版社,2010.1.
[2] 石必胜 . 专利创造性判断 [M]. 知识产权出版社,2012.2.



发评论,每天都得现金奖励!超多礼品等你来拿
登录 后,在评论区留言并审核通过后,即可获得现金奖励,奖励规则可见: 查看奖励规则